联系人:陈小姐
电 话:13862380733
邮 箱:
地 址:江苏省太仓市沙溪镇归庄加油站东500米

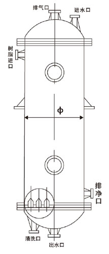
聚丙烯离子交换柱 新玉洁

聚丙烯环保型水喷射真空机组、射流式真空泵机组 水环式真空泵

聚丙烯离子交换柱 新玉洁

聚丙烯、聚氯乙烯塑料真空过滤器

立式塑料水喷射真空机组 耐酸碱 聚丙烯水喷射泵 PP箱体带盘管

聚丙烯离子交换柱 新玉洁

聚丙烯、聚氯乙烯塑料真空过滤器

源头厂家 聚丙烯真空计量罐、缓冲罐

聚丙烯真空计量罐、缓冲罐 支持定制

|0.1立方—5立方 真空计量槽、缓冲罐、高位槽

立式卧式聚丙烯真空计量罐、缓冲罐

石墨改性聚丙烯降膜吸收器

石墨改性聚丙烯降膜吸收器

石墨改性聚丙烯降膜吸收器

石墨改性聚丙烯列管式换热器、冷凝器

塑料水塔PE储罐(立、卧式)耐酸碱防腐聚乙烯化工废液储罐5立方-50吨

PE储罐(立、卧式)聚乙烯塑料储水桶定制厂家PE防腐储桶10立方氨水尿素储罐

塑料大水桶厂家 20立方PE储罐耐腐蚀30T污水蓄水罐定制

PE储罐(立、卧式) PE材质 15T助磨剂储罐厂家批发

化工废液储存桶 3000L塑料PE储罐水箱加厚定制

PPH 聚丙烯储罐生产厂家 滚塑一体成型 密封性好 使用简便